search
clear
Acasa
Piese Auto
Motor
Garnituri
Simering supapa
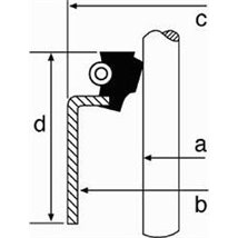
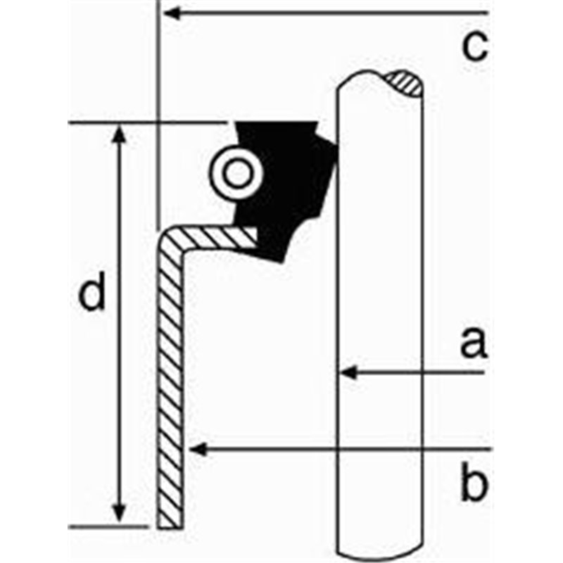
Etansare. supape - Corteco-19019999 - Corteco-19019999
search
Etansare. supape - Corteco-19019999 - Corteco-19019999
11,09 lei
Include TVA
Vezi Detalii
Descriere
Detalii
Etansare. supape - Corteco-19019999 - Corteco-19019999
Cod
19019999
Vezi Detalii
check_circle
check_circle